产品详情


分离器要能保持良好的分离效果,需对其液位和压力进行控制。传统分离器液位和压力的控制采用定压控制技术。在分离器的变压力液面控制中,利用浮子液面控制器带动油和气调节阀,使其联合动作,控制原油和天然气的液量,完成对分离器中液位的调节,而不对分离器的压力进行控制。变压力的液面控制方法可以最大程度地减小油气出口阀的节流,减小分离器的压力,提高分离效果。油气分离器和油气水三相分离器在油田接转站和联合站中有着广泛的应用。分离器要能保持良好的分离效果,需要对其液位和压力进行控制。
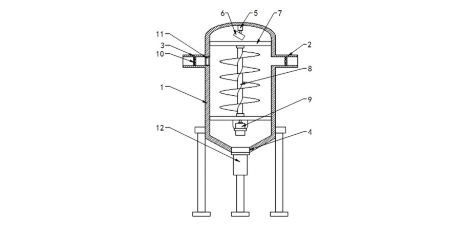
1、 本产品介质通过性强、 阻力小、 除水效果良好。
2、 除水效率高, 气体速度降到 13.8m/s 以下时, 可除去 99%以上的液态水。
3、 体积小、 重量轻, 减轻管道负重。
4、 安装方便, 管道法兰式连接、 可悬挂安装同时可以安装吊环。
5、 免维护、 可靠性好, 寿命长, 可使用 20 年。
6、 按 GB150 压力容器标准制造, 安全可靠。
7、 可选配: 自动排水器或手动排水器; 液位计等。
8、 材料: 碳钢和不锈钢。
9、 使用温度: ≤ 80℃ 。 ( 高温情况下, 需特殊要求)




- 上一篇:不锈钢气液分离器
- 下一篇:最后一篇





